Chimney Sweep

  • Active since 1995, Hearth.com is THE place on the internet for free information and advice about wood stoves, pellet stoves and other energy saving equipment.

    We strive to provide opinions, articles, discussions and history related to Hearth Products and in a more general sense, energy issues.

    We promote the EFFICIENT, RESPONSIBLE, CLEAN and SAFE use of all fuels, whether renewable or fossil.

TheNatural

New Member
Dec 19, 2023
41
Newfoundland
I'm getting a guy to come clean the chimney because of the problems I've been having. The funnels coming out of the stove has some 45s, are they gonna have to take them apart to clean everything or can they do it from the roof?

[Hearth.com] Chimney Sweep
 
I'm getting a guy to come clean the chimney because of the problems I've been having. The funnels coming out of the stove has some 45s, are they gonna have to take them apart to clean everything or can they do it from the roof?
Some pictures would help
 
I would clean up through that with a rotary cleaner
 
So it will be disconnected from the stove but the whole thing doesn't need to be taken apart?
Nope leave the stove in place and clean through it
 
Drop the baffle, plug the secondary tube with a rag, and sweep. A rotary cleaner will go right through the 45s.
 
I'm getting a guy to come clean the chimney because of the problems I've been having. The funnels coming out of the stove has some 45s, are they gonna have to take them apart to clean everything or can they do it from the roof?

View attachment 321247
I Love the inside of your home. Simple at it's best.
 
Thank you, my wife designed it. It's on the ocean
It sure feels like that. What's that floor? Pine tongue and groove? They almost look like 2x3" lumber?
 
A lot of us use the “soot eater” chimney cleaner and do it ourselves. All you need it a cordless drill and you can clean everything yourself.
 
  • Like
Reactions: TheNatural
Ok great to know, I hope our guy knows that
Be sure he knows this. If soot and sote get down in the secondary tube it drops into the EBT and can foul secondary operation. If he has worked on PE stoves he should know this. If not, time to get edjumacated. Also, have a new baffle gasket ready. It will need replacement.

FYI, we have a 45º offset on our system. I still clean our own flue system with a Sooteater which goes through the offset without issue. It paid for itself 3 times over with the first cleaning.
 
Be sure he knows this. If soot and sote get down in the secondary tube it drops into the EBT and can foul secondary operation. If he has worked on PE stoves he should know this. If not, time to get edjumacated. Also, have a new baffle gasket ready. It will need replacement.

FYI, we have a 45º offset on our system. I still clean our own flue system with a Sooteater which goes through the offset without issue. It paid for itself 3 times over with the first cleaning.
Ok, I'm new to all of this but I'll ask him the things you mentioned and hopefully I'll learn a few things in the process
 
Be sure he knows this. If soot and sote get down in the secondary tube it drops into the EBT and can foul secondary operation. If he has worked on PE stoves he should know this. If not, time to get edjumacated. Also, have a new baffle gasket ready. It will need replacement.

FYI, we have a 45º offset on our system. I still clean our own flue system with a Sooteater which goes through the offset without issue. It paid for itself 3 times over with the first cleaning.
Hey, I'm just getting my questions ready for my chimney sweep guy. Just wondering where the baffle gasket goes and why it needs to be replaced when the chimney is cleaned? Thanks
 
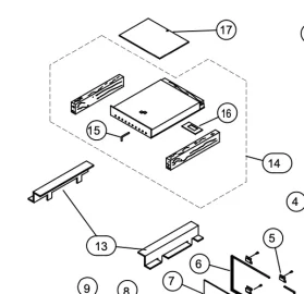
It's a thin, sacrificial gasket that goes between the secondary feed tube and the baffle. Part #16 in this diagram. They are cheap. Get a few from you PE dealer.

Is the sweep familiar PE stoves? They have a unique baffle system that contains the secondary channels on the bottom.

[Hearth.com] Chimney Sweep
 
Last edited:
It's a thin, sacrificial gasket that goes between the secondary feed tube and the baffle. Part #16 in this diagram. They are cheap. Get a few from you PE dealer.

Is the sweep familiar PE stoves? They have a unique baffle system that contains the secondary channels on the bottom.

View attachment 321341
Thanks for the information. PE is popular here so i'm guessing he is. But I just want to do my homework just in case
 
I spent a lot of time in Gander. You have a beautiful island out there.
 
Chimney Sweep was off till today, so I'm waiting to get an appointment. The fire is burning ok in the stove but I don't see any secondary burn. What could this be an indication of? Is it ok to leave the fire in or can this be doing any damage?
 
This could be an indication of weakened draft if the flue system or chimney cap screen is starting to plug up. Or it could be due to wood that is not fully seasoned and still damp inside.

Did you try burning some kiln dried wood from the store?
 
Last edited:
Finally got to the bottom of my probation. It wasn't wet wood or soot built up in the chimney. I have a whirley on top of my chimney instead of a cap, and I didn't know but our chimney sweep guy said it was stuck. Air wasn't getting down the flue. So we added 2 feet of pipe and put on a cap, and now it's going great again. Thanks for all your help. By the way I don't have a gasket over my air flow tube, is this a big deal?
 
  • Like
Reactions: moxy and bigealta